设备通用告警
当被管理设备在运行时,发生与告警规则相匹配的事件,HSM系统将产生告警信息,并将其展示在告警列表,使用户能够通过HSM系统的管理平台监控所有被管理设备的各类告警信息,如设备资源使用情况、设备配置状态变化等。
本章包含以下内容:
设备通用告警消息
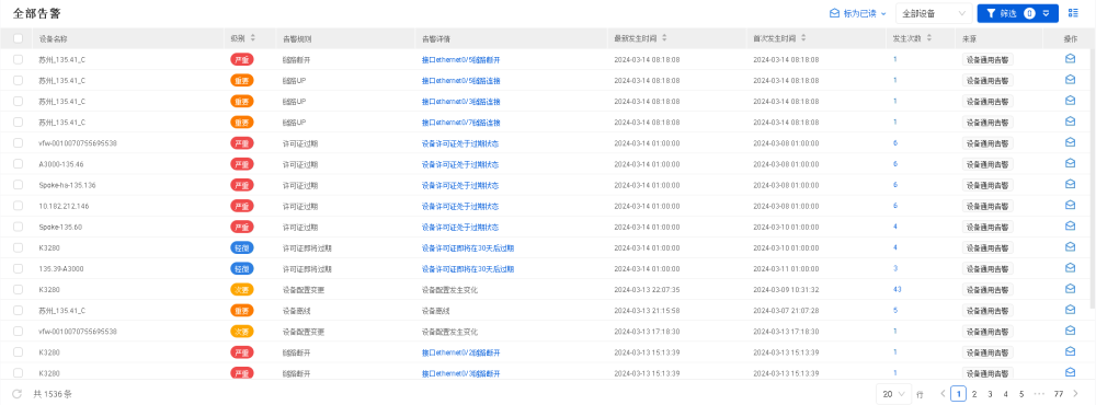
在设备通用<告警消息>标签页,系统向用户最近24小时内,不同级别未读告警的数量分布,以及所有被管理设备的通用告警的详细信息。查看设备通用告警信息,请按照以下步骤进行操作:
- 点击“告警”,进入“告警 > 全部告警”页面。
- 选择“设备通用告警 > 告警消息”,打开<告警消息>标签页,查看设备通用告警信息。
- 近24h未读告警总览:在“近24h未读告警总览”区域,查看最近24小时内不同级别未读告警的数量分布,包括未读告警数量、严重级别的告警数量、重要级别的告警数量、次要级别的告警数量、轻微级别的告警数量和通知级别的告警数量。
- 全部告警:在“全部告警”区域,以列表的形式展示设备通用告警的详细信息。
说明:未读告警数量等于严重、重要、次要、轻微以及通知级别的告警数量的总和。

说明: 设备通用告警的详细信息可参考全部告警列表描述。
设备通用告警规则
设备通用告警规则包括预定义设备通用告警规则和自定义设备通用告警规则,用户可根据需要使用。HSM系统默认提供20条预定义设备通用告警规则,包括设备内存使用率、设备HDD使用率、设备CPU使用率、升级特征库成功、设备新建连接数、设备并发连接数、设备CPU温度等。系统默认启用预定义设备通用告警规则,用户可根据需要,编辑预定义设备通用告警规则,但不能删除。
用户可以创建自定义设备通用告警规则,也可以编辑、删除已创建的自定义设备通用告警规则。
创建自定义告警规则
创建设备通用的自定义告警规则,请按照以下步骤进行操作:
- 点击“告警”,进入“告警 > 全部告警”页面。
- 选择“设备通用告警 > 告警规则”,打开<告警规则>标签页。
- 点击列表右上方的“新增”按钮,打开<新增告警规则>页面。

在该页面进行如下配置。
选项 说明 状态 点击“启用”按钮,启用或禁用设备通用告警规则,默认为启用状态。 来源 选择设备通用告警产生的来源,包括: 内存使用率、HDD使用率、CPU使用率、升级特征库成功、设备新建连接数、设备并发连接数、CPU温度、机箱温度、风扇失效、电源失效、许可证过期、许可证即将到、链路断开、设备离线、设备HA状态发生变化、接口速率超限、设备总流量超限、设备上线、链路UP和设备配置变更,默认为CPU使用率。 名称 输入设备通用告警规则的名称,最多可输入31个字符。 触发条件 配置产生设备通用告警规则需要的条件。当设备的运行状态满足触发条件时,系统将根据配置的“级别”,产生指定级别的告警信息。设备通用告警的触发条件包括以下20项: 内存使用率、HDD使用率、CPU使用率、升级特征库成功、设备新建连接数、设备并发连接数、CPU温度、机箱温度、风扇失效、电源失效、许可证过期、许可证即将到、链路断开、设备离线、设备HA状态发生变化、接口速率超限、设备总流量超限、设备上线、链路UP和设备配置变更。其相关配置规则如下:
内存使用率、HDD使用率、CPU使用率、设备并发连接数、CPU温度、机箱温度、接口速率超限、设备总流量超限的配置规则如下:
- 时间条件:指定产生告警规则的时间条件。在时间单位下拉菜单中选择时间单位,包含分钟、小时、天,在文本框中输入对应的时间值,默认为1分钟。当选择“分钟”时,取值范围是1到60分钟;当选择“小时”时,取值范围是1到24小时;当选择“天”时,取值范围是1到90天。
- 限制条件:指定产生告警规则的限制条件和限制值。在限制条件下拉菜单中选择对应限制规则,包含高于和范围,默认为高于。在文本框中输入对应的限制值或限制范围。其中,内存使用率、HDD使用率、CPU使用率、设备并发连接数的限制值默认为90%,取值范围是1到100%;设备新建连接数的限制值默认为5000个/秒,取值范围是1到100000000个/秒;CPU温度、机箱温度的限制值默认为70摄氏度,取值范围是1到100摄氏度;接口速率超限的限制值默认为90Mbps,取值范围是1到100Mbps;设备总流量超限的限制值默认为5G,取值范围是1到1024G,或1到1024M。 说明:接口速率超限的限制值也支持配置百分比,默认为90%,取值范围是1到100%。
升级特征库成功、许可证过期、许可证即将到、链路断开、设备离线、设备HA状态发生变化、设备上线、链路UP和设备配置变更的规则均为系统默认条件,不支持编辑。
级别 指定设备通用告警事件的严重程度,可分为严重、重要、次要、轻微和通知五个级别。 告警设备 指定应用设备通用告警规则的被管理设备,可以为全部纳管设备或指定设备,默认为全部纳管设备。当选择指定设备时,可以指定安全设备、ADC设备、WAF设备和等保设备,点击对应设备类型后的
,打开<指定设备>页面,添加至少一台对应设备作为告警设备。支持同时指定多种类型的设备。
说明:仅当“来源”选择“内存利用率”或“CPU利用率”时,支持指定等保设备。告警方式 选择产生设备通用告警信息时是否发送通知,包括通知和不通知。除设备配置变更、设备离线和设备上线告警规则默认为通知外,其他设备通用告警规则均默认为不通知。 - 当显示为“通知”时,表示系统发出告警信息并通过邮件、企业微信或短信的方式通知用户。
- 当显示为“不通知”时,系统仅发出告警信息。
通知方式 当“告警方式”选择为“通知”时,可以指定通知方式,包括邮件、企业微信和短信。邮件、企业微信和短信的具体介绍,请参阅“ 通知设置”。设备配置变更、设备离线和设备上线告警规则的通知方式默认为企业微信。 联系人 指定接收设备通用告警信息的联系人,或者新建联系人。联系人的具体介绍,请参阅“ 联系人管理”。设备配置变更、设备离线和设备上线告警规则的通知联系人默认为admin用户。
当登录用户拥有系统管理读写权限时,可先编辑目标联系人的相关信息,然后再指定该联系人接收告警信息通知。注意: 当告警规则的通知方式配置为“企业微信”,并且指定配置了手机号码的联系人时,企业微信群聊机器人在群里发送告警信息时,将会@该联系人进行提醒。 - 点击“确定”完成配置。
编辑设备通用告警规则
系统支持编辑设备通用的预定义告警规则和自定义告警规则的相关参数。编辑设备通用告警规则,请按照以下步骤进行操作:
- 点击“告警”,进入“告警 > 全部告警”页面。
- 选择“设备通用告警 > 告警规则”,打开<告警规则>标签页。
- 点击列表“操作”列的
按钮,打开<编辑告警规则>页面,修改指定告警规则的相关参数。
- 点击“确定”完成配置。
查看设备通用告警规则
查看设备通用告警规则的详细信息,请按照以下步骤进行操作:
- 点击“告警”,进入“告警 > 全部告警”页面。
- 选择“设备通用告警 > 告警规则”,打开<告警规则>标签页,查看设备通用告警规则的详细信息。

对于设备通用告警规则列表中的条目,用户可以执行以下操作: - 勾选多条告警规则,点击列表右上方的
,批量删除选中的告警规则。 - 勾选一条或多条告警规则,点击列表右上方的“启用”或“禁用”按钮,启用/禁用选中的告警规则。
- 点击列表上方的
按钮,用户可以按照告警规则名称、告警级别、告警规则的状态、告警规则的通知方式和告警类型进行过滤,快速查找需要的告警规则。点击
按钮,取消筛选条件的配置。